Page 1 of 1

Radiator core support question.

Posted: Wed Dec 16, 2009 4:09 pm
by Neon4Life
hopefully this is in the correct section.

but has anyone ever replaced the radiator core support on their Neon.

im just wondering as to how difficult it is to do.??

because what im thinking is.. ill take the old one off myself and then just have someone i trust come by and weld the new one on.

Posted: Wed Dec 16, 2009 4:26 pm
by Danteneon
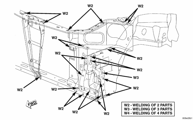
This is tricky. The core support isn't one piece, but rather several parts. You have the upper tie bar, lower crossmember, side baffles, and headlamp buckets. Below is a pic to give you an idea of the weld locations.

Image

And once you get to the point of trying to assemble the front end, it is critical that the car be tied to a rack (or very flat floor) in just the correct way. The car must be straight before these parts are welded on or else the car will not align nor track straight again.

Posted: Wed Dec 16, 2009 4:33 pm
by Neon4Life
ooo. i c. thanks for the picture.

Posted: Wed Dec 16, 2009 4:35 pm
by heydockyle
We screwed mine together first, made sure everything was in the right place. Then took screws out and welded it one by one.

Posted: Wed Dec 16, 2009 11:43 pm
by Mopar00Neon
Actually, the car will align and track just fine, even with the core support off a bit. The suspension does not tie into the core support in any fashion.

I replaced mine when my car was wrecked. I bought the entire thing, in individual pieces from the dealer. Wasnt quite $400 i believe. Then welded it all together piece by piece.

Ive also in the past, and will be doing again soon on a 1st gen (where the core support is more of a structural piece than on a 2nd gen, because of the front motor mount) cut off a damaged one, and welded on a complete one cut off another car.