Torque strut replacement alternatives: looking for OPINIONS
Torque strut replacement alternatives: looking for OPINIONS
I have the top/bottom AGP's on my 2000 Neon, and they're a great part, no doubt. But yes, there is a lot of vibration when you start up from the stoplight or are at idle.
The torque struts on my SRT-4 are broken. No surprise eh? I want my SRT-4 to be more of a daily driver type of car. Therefore, I've decided I don't want the AGP's on my engine. I also don't want to be replacing torque struts later.
My question is: are the Energy Suspension urethane inserts worth it? Is there only a little vibration increase, or is it almost the same as the AGP dogbone-style parts? I figure the ES urethane inserts will prevent the oem torque struts from breaking pretty much ever again, but I have no experience with them.
Advice requested, thanks in advance.
The torque struts on my SRT-4 are broken. No surprise eh? I want my SRT-4 to be more of a daily driver type of car. Therefore, I've decided I don't want the AGP's on my engine. I also don't want to be replacing torque struts later.
My question is: are the Energy Suspension urethane inserts worth it? Is there only a little vibration increase, or is it almost the same as the AGP dogbone-style parts? I figure the ES urethane inserts will prevent the oem torque struts from breaking pretty much ever again, but I have no experience with them.
Advice requested, thanks in advance.
- A - R - R - O - 2000 - NEON SE - // - 2003 - SRT-4 -Drive it like you stole it, and work on it like you married it.
Cardomain: http://www.cardomain.com/ride/2651950

Official "I'm Going to Drive My Neon till it Dies" Club #22
-
occasional demons
- Junior Admin
- Posts: 20064
- Joined: Thu May 03, 2007 12:14 pm
- Location: Ashland Ohio
Your best bet is to get new torque struts, and fill them with epoxy casting compound.
http://www.mcmaster.com/#casting-compounds/=ldaba8
It will fully support the oem rubber, and still absorb vibrations.
Window Weld didn't hold up at all on the 1gn, the crap squished out after a week. It costs only slightly less than what I have linked above.
http://www.mcmaster.com/#casting-compounds/=ldaba8
It will fully support the oem rubber, and still absorb vibrations.
Window Weld didn't hold up at all on the 1gn, the crap squished out after a week. It costs only slightly less than what I have linked above.
Bill
2000 Neon MTX swap with '02 R/T PCM
1999 neon coupe 2.4 swap
Probably shouldn't listen to anything your penis says, that guy's a dick.
Too much time spent here is a sign of a bad case of Ownaneonvirus.Patience, of course, is a very powerful weapon, but sometimes I start to regret that it is not a firearm.
2000 Neon MTX swap with '02 R/T PCM
1999 neon coupe 2.4 swap
-
occasional demons
- Junior Admin
- Posts: 20064
- Joined: Thu May 03, 2007 12:14 pm
- Location: Ashland Ohio
I haven't actually ordered any. (Yet) But have seen the link before. I think the Mopar Performance rubber mounts were in the 65 durometer range? So I guess if you want something "streetable" start there?
Tho if retaining the oem rubber and just filling, you would probably get away with the harder stuff. IDK how well the 40A would stay in the mount, maybe if you had a way to put a large fender washer on each side to retain it, it might work well to help support the oem rubber, but I would imagine it would still allow for movement.
IIRC, ES sells an epoxy kit also.
Bill
2000 Neon MTX swap with '02 R/T PCM
1999 neon coupe 2.4 swap
Probably shouldn't listen to anything your penis says, that guy's a dick.
Too much time spent here is a sign of a bad case of Ownaneonvirus.Patience, of course, is a very powerful weapon, but sometimes I start to regret that it is not a firearm.
2000 Neon MTX swap with '02 R/T PCM
1999 neon coupe 2.4 swap
- DetergentCandy
- 2GN Member
- Posts: 1197
- Joined: Sun Sep 27, 2009 8:13 pm
- Location: Phoenix
I don't share that last opinion... I have the AGP dogbones on my 2000 2GN and there is a lot of vibration transmitted through the chassis when you start up off the line, start the car, downshift, etc.
I think ill give the mopar ones a go.
I think ill give the mopar ones a go.
- A - R - R - O - 2000 - NEON SE - // - 2003 - SRT-4 -Drive it like you stole it, and work on it like you married it.
Cardomain: http://www.cardomain.com/ride/2651950

Official "I'm Going to Drive My Neon till it Dies" Club #22
Sounds like what I am looking for.occasional demons wrote:Your best bet is to get new torque struts, and fill them with epoxy casting compound.
http://www.mcmaster.com/#casting-compounds/=ldaba8
It will fully support the oem rubber, and still absorb vibrations.
THANKS for the tip, Bill !!
If it turns out the Energy Suspension inserts are a bit too much for vibration, I am going to try this.
- Nick
-1998 2-dr SOHC MTX= 57mm TB; Maddog STS
-2000 Ply.LX w/MTX = Maddog STS; CAI; 2.5 exh.; 60mm T/B
-2001 ATX w/Syked PCM + Magnum header
-2001 ACR w/SRT T/B bored out to 55mm
Official "I'm Going to Drive My Neon till it Dies" Club #000009
-2000 Ply.LX w/MTX = Maddog STS; CAI; 2.5 exh.; 60mm T/B
-2001 ATX w/Syked PCM + Magnum header
-2001 ACR w/SRT T/B bored out to 55mm
Official "I'm Going to Drive My Neon till it Dies" Club #000009
-
Donkeypuncher
- 2GN Member
- Posts: 2183
- Joined: Wed Mar 12, 2008 6:14 am
- Location: Dallas, Tx
Interesting. Well let's see what Nick says when he puts in Energy Suspension inserts... Nick, when is that gonna happen? In the near future?
- A - R - R - O - 2000 - NEON SE - // - 2003 - SRT-4 -Drive it like you stole it, and work on it like you married it.
Cardomain: http://www.cardomain.com/ride/2651950

Official "I'm Going to Drive My Neon till it Dies" Club #22
They're installed 'now'.... BUT I have not driven the car, since they were installed....Arro wrote:Interesting. Well let's see what Nick says when he puts in Energy Suspension inserts... Nick, when is that gonna happen? In the near future?
The poor car is in the garage, waiting for a bunch of work.
HOWEVER, I can say that when I start the car 'occasionally' and let it idle - to keep the fluids moving - I haven't noticed any extra vibrations. ( Unlike my 1st gen / '98 Neon.)
- Nick
-1998 2-dr SOHC MTX= 57mm TB; Maddog STS
-2000 Ply.LX w/MTX = Maddog STS; CAI; 2.5 exh.; 60mm T/B
-2001 ATX w/Syked PCM + Magnum header
-2001 ACR w/SRT T/B bored out to 55mm
Official "I'm Going to Drive My Neon till it Dies" Club #000009
-2000 Ply.LX w/MTX = Maddog STS; CAI; 2.5 exh.; 60mm T/B
-2001 ATX w/Syked PCM + Magnum header
-2001 ACR w/SRT T/B bored out to 55mm
Official "I'm Going to Drive My Neon till it Dies" Club #000009
-
occasional demons
- Junior Admin
- Posts: 20064
- Joined: Thu May 03, 2007 12:14 pm
- Location: Ashland Ohio
Ordered this stuff to patch concrete at work. I think it is safe to say you would get about the same results as welding it up solid. You would only have whatever oem rubber webbing you left in the mount as vibration/movement absorption. This stuff is basically like a damn rock, which is perfect for what I used it for. 
Extra Hard (85D)
8690K1 69.76
8690K2 181.74
Extra Hard (85D)
8690K1 69.76
8690K2 181.74
Bill
2000 Neon MTX swap with '02 R/T PCM
1999 neon coupe 2.4 swap
Probably shouldn't listen to anything your penis says, that guy's a dick.
Too much time spent here is a sign of a bad case of Ownaneonvirus.Patience, of course, is a very powerful weapon, but sometimes I start to regret that it is not a firearm.
2000 Neon MTX swap with '02 R/T PCM
1999 neon coupe 2.4 swap
-
GroceryGetter
- 2GN Member
- Posts: 106
- Joined: Tue Mar 15, 2011 11:44 pm
- Location: Lake Charles LA
-
Hudson_Neon
- 2GN Member
- Posts: 3371
- Joined: Wed Mar 14, 2007 4:50 pm
Agreed - For what it is worth, I have *heard* that if you use *new* motor mounts, along with Inserts - The vibrations will be very minimal, or non-existent.GroceryGetter wrote:I have the 'race' inserts in my torque struts and I don't see any real vibration. Most 2gn Neons with any vibration have a bad motor mount.
If you install inserts, with worn / sagging motor mounts, that's when you you should expect to feel excessive vibrations.
'Excessive' is a subjective term.
Some folks don't care at all - Others, don't like them.
Myself, I would rather have my Neons idle smoothly.
- Nick
-1998 2-dr SOHC MTX= 57mm TB; Maddog STS
-2000 Ply.LX w/MTX = Maddog STS; CAI; 2.5 exh.; 60mm T/B
-2001 ATX w/Syked PCM + Magnum header
-2001 ACR w/SRT T/B bored out to 55mm
Official "I'm Going to Drive My Neon till it Dies" Club #000009
-2000 Ply.LX w/MTX = Maddog STS; CAI; 2.5 exh.; 60mm T/B
-2001 ATX w/Syked PCM + Magnum header
-2001 ACR w/SRT T/B bored out to 55mm
Official "I'm Going to Drive My Neon till it Dies" Club #000009
Trying to understand that... they sag a bit, then the inserts will simply force them back into position, wouldn't they? I figured the inserts would give the stability to the mount, and the original rubber parts would then just be cushioning between the urethane insert parts.
- A - R - R - O - 2000 - NEON SE - // - 2003 - SRT-4 -Drive it like you stole it, and work on it like you married it.
Cardomain: http://www.cardomain.com/ride/2651950

Official "I'm Going to Drive My Neon till it Dies" Club #22
Well, as I understand it.... Using inserts on new motor mounts, will keep them, from 'sagging'.... While preventing or keeping vibrations to a minimum.Arro wrote:Trying to understand that... they sag a bit, then the inserts will simply force them back into position, wouldn't they?
- Nick
-1998 2-dr SOHC MTX= 57mm TB; Maddog STS
-2000 Ply.LX w/MTX = Maddog STS; CAI; 2.5 exh.; 60mm T/B
-2001 ATX w/Syked PCM + Magnum header
-2001 ACR w/SRT T/B bored out to 55mm
Official "I'm Going to Drive My Neon till it Dies" Club #000009
-2000 Ply.LX w/MTX = Maddog STS; CAI; 2.5 exh.; 60mm T/B
-2001 ATX w/Syked PCM + Magnum header
-2001 ACR w/SRT T/B bored out to 55mm
Official "I'm Going to Drive My Neon till it Dies" Club #000009
-
occasional demons
- Junior Admin
- Posts: 20064
- Joined: Thu May 03, 2007 12:14 pm
- Location: Ashland Ohio
Also new center and transaxle mounts might have been what was meant.
When I put inserts into my tires torque struts, the torque load then went to the actual (weight) load bearing mounts. After I replaced them, it made a big difference in the feel of acceleration.
When I put inserts into my tires torque struts, the torque load then went to the actual (weight) load bearing mounts. After I replaced them, it made a big difference in the feel of acceleration.
Bill
2000 Neon MTX swap with '02 R/T PCM
1999 neon coupe 2.4 swap
Probably shouldn't listen to anything your penis says, that guy's a dick.
Too much time spent here is a sign of a bad case of Ownaneonvirus.Patience, of course, is a very powerful weapon, but sometimes I start to regret that it is not a firearm.
2000 Neon MTX swap with '02 R/T PCM
1999 neon coupe 2.4 swap
So in other words, if I put in unbroken torque struts w/ Energy Suspension inserts and it vibrates a lot, change the mount in the center of the side of the engine bay (the PITA one to get to).
- A - R - R - O - 2000 - NEON SE - // - 2003 - SRT-4 -Drive it like you stole it, and work on it like you married it.
Cardomain: http://www.cardomain.com/ride/2651950

Official "I'm Going to Drive My Neon till it Dies" Club #22
-
Hudson_Neon
- 2GN Member
- Posts: 3371
- Joined: Wed Mar 14, 2007 4:50 pm
I don't understand... "to specs"? It's just one bolt on either end, right? I don't see how you can "adjust" the positioning. When I installed the AGP dogbones on my 2000 ES, I just, well, unbolted the old stockers and bolted in the new ones.
Speaking of which, a couple questions...
First, I read somewhere on here I believe that you have to "adjust your engine" when you install mounts and that it has an affect on shifting. I can understand how the position of the engine can alter the engagement point of shift cables... but I don't see how you can change that. Or are they talking about adjusting the cables not the engine? My 2000 is an automatic so I suppose it makes no difference but this SRT is manual trans.
Second, I am getting the impression from looking at MPx's site that the torque strut mounts are the same for both SOHC and the SRT-4 Neons... did I finally catch on to something you all already knew? Is that the case?
I obtained some SRT-4 (or.... simply just 2GN...?) replacement torque strut mounts from a guy on srtforums, and they look like they're in great condition. So yesterday I ordered the Prothane inserts since reading about the ES versions the testimonials talk about failure. So I'll be running Prothane race inserts in what appear to be still-healthy torque struts.
I can't stand the ugly casting tho (looks like it's scratched but it's part of the mold and de-burring process I'm sure) so this weekend I'm gonna media blast them them sand them smooth. Maybe even polish them up.
Speaking of which, a couple questions...
First, I read somewhere on here I believe that you have to "adjust your engine" when you install mounts and that it has an affect on shifting. I can understand how the position of the engine can alter the engagement point of shift cables... but I don't see how you can change that. Or are they talking about adjusting the cables not the engine? My 2000 is an automatic so I suppose it makes no difference but this SRT is manual trans.
Second, I am getting the impression from looking at MPx's site that the torque strut mounts are the same for both SOHC and the SRT-4 Neons... did I finally catch on to something you all already knew? Is that the case?
I obtained some SRT-4 (or.... simply just 2GN...?) replacement torque strut mounts from a guy on srtforums, and they look like they're in great condition. So yesterday I ordered the Prothane inserts since reading about the ES versions the testimonials talk about failure. So I'll be running Prothane race inserts in what appear to be still-healthy torque struts.
I can't stand the ugly casting tho (looks like it's scratched but it's part of the mold and de-burring process I'm sure) so this weekend I'm gonna media blast them them sand them smooth. Maybe even polish them up.
- A - R - R - O - 2000 - NEON SE - // - 2003 - SRT-4 -Drive it like you stole it, and work on it like you married it.
Cardomain: http://www.cardomain.com/ride/2651950

Official "I'm Going to Drive My Neon till it Dies" Club #22
-
Hudson_Neon
- 2GN Member
- Posts: 3371
- Joined: Wed Mar 14, 2007 4:50 pm
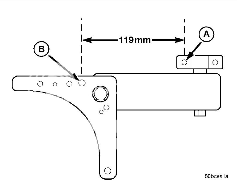
first, the side of the torque strut on the car is slightly slotted and allows for adjustment. the purpose is to make the engine perfectly vertical. the action involved with combustion engines, mainly in an inline formation, can cause vibrations. just loosen up the side on the car and get a friend to help man handle the engine to the properly measured position as seen in my previous postArro wrote:I don't understand... "to specs"? It's just one bolt on either end, right? I don't see how you can "adjust" the positioning. When I installed the AGP dogbones on my 2000 ES, I just, well, unbolted the old stockers and bolted in the new ones.
Speaking of which, a couple questions...
First, I read somewhere on here I believe that you have to "adjust your engine" when you install mounts and that it has an affect on shifting. I can understand how the position of the engine can alter the engagement point of shift cables... but I don't see how you can change that. Or are they talking about adjusting the cables not the engine? My 2000 is an automatic so I suppose it makes no difference but this SRT is manual trans.
Second, I am getting the impression from looking at MPx's site that the torque strut mounts are the same for both SOHC and the SRT-4 Neons... did I finally catch on to something you all already knew? Is that the case?
I obtained some SRT-4 (or.... simply just 2GN...?) replacement torque strut mounts from a guy on srtforums, and they look like they're in great condition. So yesterday I ordered the Prothane inserts since reading about the ES versions the testimonials talk about failure. So I'll be running Prothane race inserts in what appear to be still-healthy torque struts.
I can't stand the ugly casting tho (looks like it's scratched but it's part of the mold and de-burring process I'm sure) so this weekend I'm gonna media blast them them sand them smooth. Maybe even polish them up.
second, yes. torque struts and center engine mounts are the same on all 2gn neons. the only difference is the tranny mount
Cool! Thanks for the clarification 
- A - R - R - O - 2000 - NEON SE - // - 2003 - SRT-4 -Drive it like you stole it, and work on it like you married it.
Cardomain: http://www.cardomain.com/ride/2651950

Official "I'm Going to Drive My Neon till it Dies" Club #22




